主题
仪表板组件-明细表
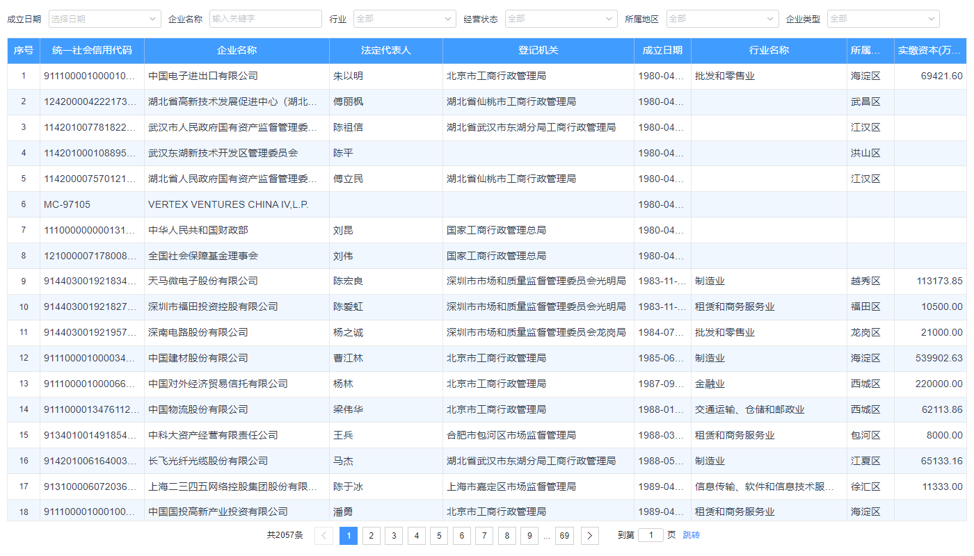
明细表展示数据表中最细粒度的数据,显示的每条数据都对应于数据库表原始行的一条数据。如展示企业的基本信息:

示例:明细表(企业基本信息表)
使用明细表组件
将需要展示的字段拖入到明细表中进行展示
操作步骤

- 双击或拖入【统一社会信用代码】、【企业名称】、【法定代表人】等6个维度字段、和度量字段【实缴资本(万元)】到数据
- 右键【成立日期】,选择排序>,指定字段为【成立日期】,选择排序方式为升序
- 在基本中,设置分页的每页行数
- 可为明细表添加条件样式,设置数据条,突出显示和色阶等
通过上述4个步骤,即可快速实现企业基本信息并按照成立日期进行升序排列。
属性介绍
明细表整体由几部分组成,每一个部分属性都是需要独立设置,大致区域划分如下图:

根据各个区域的属性不同,又分为
组件属性
设置表格通用样式和属性等,如分页、布局、冻结线、边框样式等。
组件属性大致分为:
序号列
明细表提供默认显示序号的功能,通过序号列可以让用户更好判断当前明细表页面展示的数据数量,以及帮助用户更好区分不同行数据之间的差异。
勾选明细表>基本>显示序号即可自动展示序号,默认不勾选。

在样式>表格>序号列中,可以调整明细表的序号列的样式。具体如下:

- 标题:设置序号列标题内容和序号的显示格式,可参考显示格式
- 字体:设置明细表的数据行字体,包括字体、字号、位置
- 单元格填充:统一设置明细表数据行每个单元格的背景填充样式,填充方式包括无填充、颜色填充、图片填充和动效填充。默认无填充
- 背景填充:设置整个序号列的背景填充,填充方式包括无、横向填充、纵向填充和区域填充。如果选择了填充方式,会自动显示背景填充选项,背景填充包括无填充、颜色填充和图片填充。默认填充方式为无
- 内边距:设置明细表序号列的内边距,可参考内边距
- 列宽:设置明细表序号列的宽度,提供自适应和固定值两种宽度大小
- 伸缩:序号列会根据数据内容,进行自适应伸缩,伸缩的大小会根据宽度范围的值进行限制。伸缩提供是、否和自定义三种选项
- 宽度范围:限制序号列的伸缩宽度,当列宽选择了固定值时,宽度范围的最大默认值默认为列宽选择的固定值(支持手动修改)。
- 空间剩余时,按比例放大:当伸缩选择为自定义时,可以设置数据内容的单元格存在空余空间时,按照多大的比例进行放大
- 空间不足时,按比例缩小:当伸缩选择为自定义时,可以设置数据内容的单元格空间不足时,按照多大的比例进行缩小
TIP
序号列无法参与条件样式的设置,如果需要将序号列设置成不同的样式,可以在模型中新增一个排序字段,将排序字段拖入到明细表中后,针对这个排序字段进行相关条件样式设置。 排序表达式参考如下:
- RANK:返回排序字段值的标准竞争排名
- RANK_DENSE:返回排序字段值的密集排名
- RANK_MODIFIED:返回排序字段值调整后的竞争排名
- ROW_NUMBER:返回排序字段值的唯一排名
列头排序
列头排序是能够根据某列的内容对表格数据进行排序。
勾选明细表>基本>点击列头排序,即可在列表中点击任意列头进行排序,可选升序和降序两种默认排序方式,默认勾选升序排序。
同时勾选明细表>基本>允许无排序,可以在列头点击排序后,切换到无排序效果,默认不勾选。

滚动
明细表本身是自带纵向滚动条的。但是当页面需要放置在大屏上展示时,此时由于无法人为在大屏上进行键鼠操作,所以明细表的内容应该进行自动滚动展示数据。
勾选明细表>基本>自动滚动,即可自动将明细表内容滚动显示,默认不勾选。

冻结
在查看明细表时,尝尝会遇到列数很多、很宽的明细表。在屏幕无法显示全部自动列时,为了浏览不能显示的字段列,需要使用横向滚动条。但是使用横向滚动条,则会造成明细表最前面的主要字段尤其是关键字段无法看到,从而影响了数据的查看。同时数据行过多时,使用纵向滚动条也会导致无法查看字段列名进行区分,那么通过明细表的冻结功能即可解决上诉问题。
冻结列
勾选明细表>基本>冻结列,即可设置明细表的冻结列,也可以在列数中设置冻结的列数,默认不勾选。冻结线样式需要在样式>组件>冻结线中调整。

冻结行
明细表设置的冻结行后,将会将标题行冻结。纵向滚动时,标题行将滚动不跟随滚动条进行滚动。
在样式>组件>冻结线中设置冻结线后,明细表会自动添加一个标题行的冻结线。如果需要设置冻结列,需要再回到基本>冻结列中进行设置。

行高/列宽
布局中可以对明细表所有列和行先进行统一的样式设置,包括列宽、行高、自动撑大行高等属性,具体如下:

- 列宽:即设置每列的宽度
- 等分列宽:即每列宽度一致,为等分表格组件的宽度
- 适应内容:即根据文字长度与文字大小撑大列宽
- 行高:即设置每行的高度
- 适应容器:即每行高度等分表格的高度
- 适应内容:即高度根据文字大小的倍数设置,单位为px,输入大于0的数字即可
- 自定义:自定义标题行高和内容行高,单位为px,输入大于0的数字即可
- 自动撑大行高:根据内容自动撑大数据行高度
- 允许用户调整列宽:勾选后,用户可以在查看页面自定义拖拽调整每列的列宽
- 自动调整组件高度:根据当前数据总行数的数量,自动调整组件的高度
边框
明细表的边框分为组件边框、表格外框和网格线三部分组成.

具体设置如下:

- 组件边框:设置明细表组件的外边框,可以设置边框位置和线型。具体可参考边框
- 表格外框:设置明细表表格的外框,可以设置边框的位置和线型。具体可参考边框
- 网格线:设置明细表表格内部直接的网格线,可以设置网格线的位置和线型。具体可参考边框
分页栏
当数据行较多时,可设置分页为显示,并通过分页栏进行翻页查看数据。

当显示分页时提供以下属性设置:
- 每页行数:设置表格每页显示的数据行数
- 位置:分页栏相对于表格的位置,可设置在表格的顶部或底部,默认为底部
- 对齐:设置分页栏在表格内的对齐方式,可选居左对齐、居中对齐、居右对齐、两端对齐,默认为居中对齐
- 页码样式:设置页码数字的样式,可选无边框、方框、实心方框,只有勾选页码翻页后才有此属性
- 页码翻页:默认勾选,勾选后可点击对应页码数字跳转到对应页。取消勾选后不会显示页码,只能通过首页、上一页、下一页或末页进行翻页
- 跳转翻页:勾选后会可通过页码输入框跳转到指定页,默认不勾选
- 显示总行数:显示数据总行数,默认勾选
标题行
明细表标题分为三种:
组件标题
组件是指仪表板中每一个图形化功能的载体,它类似于是每个图形化功能的父容器,所以组件本身存在一些通用的属性,比如组件标题、边框线、内边距等
在样式>标题中可以设置标题的显示与隐藏,样式等。
设置明细表组件的标题样式,具体如下:

- 布局:设置明细表标题是否显示,默认不勾选显示
- 字体:设置组件标题字体,包括字体、字号、位置和是否换行
- 图标:设置组件标题的前后缀图标
- 填充:设置组件标题的背景填充,填充方式包括无填充、颜色填充、图片填充和动效填充。默认无填充
- 边框:设置组件标题的边框样式,可参考边框。默认无边框
- 内边距:设置组件标题的内边距,可参考内边距。默认内边距为10px
- 阴影:设置组件标题的文字阴影,可参考阴影。默认无阴影
标题行
在样式>表格>标题行中,可以调整明细表的标题行的样式。具体如下:

- 布局:设置明细表的标题行是否显示,默认勾选显示
- 字体:设置明细表的标题行字体,包括字体、字号、位置
- 单元格填充:统一设置明细表标题行每个单元格的背景填充样式,填充方式包括无填充、颜色填充、图片填充和动效填充。默认颜色填充
- 背景填充:设置整个标题行的背景填充,填充方式包括无、横向填充、纵向填充和区域填充。如果选择了填充方式,会自动显示背景填充选项,背景填充包括无填充、颜色填充和图片填充。默认填充方式为无
- 横向填充:以标题行的每个横向单元格为整体,进行横向的填充
- 纵向填充:以标题行的每个纵向单元格为整体,进行纵向的填充
- 区域填充:以标题行整体为单位,进行填充
| 纵向填充 | 横向填充 | 区域填充 |
|---|---|---|
![]() | ![]() | ![]() |
- 内边距:设置明细表标题行的内边距,可参考内边距。默认内边距为10px
列标题
在样式>标题行中,可以对每一列的标题行进行样式调整,具体如下:

- 字体:设置具体列标题的字体,包括字体、字号、位置
- 自动换行:当文字长度较长时,可设置换行显示,默认不勾选。勾选后行高会根据字体长度自动撑大
- 单元格填充:设置明细表具体列的标题背景填充样式,填充方式包括无填充、颜色填充、图片填充和动效填充。默认无填充
- 内边距:设置明细表指定列的内边距,可参考内边距
- 列宽:设置明细表标题行的列宽,提供自适应和固定值两种宽度大小
- 分组标题:针对多个列设置同一个分组标题,可以在被设置列的列标题上生成一个分组标题,具体如下:

- 还原默认设置:将指定列的标题样式还原成默认设置
数据行
在样式>表格>数据行中,可以调整明细表的数据行的样式。具体如下:

- 字体:设置明细表的数据行字体,包括字体、字号、位置
- 单元格填充:统一设置明细表数据行每个单元格的背景填充样式,填充方式包括无填充、颜色填充、图片填充和动效填充。默认无填充
- 隔行换色:勾选后数据行的背景将会奇偶行颜色各异显示,若样式>数据行>单元格填充设置了背景,这里设置的优先级大于隔行换色的优先级,然后隔行换色的优先级大于样式>表格>数据行>单元格填充的优先级
- 背景填充:设置整个数据行的背景填充,填充方式包括无、横向填充、纵向填充和区域填充。如果选择了填充方式,会自动显示背景填充选项,背景填充包括无填充、颜色填充和图片填充。默认填充方式为无
- 横向填充:以数据行的每个横向单元格为整体,进行横向的填充
- 纵向填充:以数据行的每个纵向单元格为整体,进行纵向的填充
- 区域填充:以数据行整体为单位,进行填充
- 内边距:设置明细表数据行的内边距,可参考内边距
数据列
在样式>数据行中,可以对每一列的数据列进行样式调整,具体如下:

- 字体:设置具体列的数据内容字体,包括字体、字号、位置
- 单元格填充:设置具体列的数据内容列的背景填充样式,填充方式包括无填充、颜色填充、图片填充和动效填充。默认无填充
- 背景填充:设置具体列的数据内容列的背景填充,填充方式包括无、横向填充、纵向填充和区域填充。如果选择了填充方式,会自动显示背景填充选项,背景填充包括无填充、颜色填充和图片填充。默认填充方式为无
- 图标:设置具体列的数据内容的前后缀图标,默认无图标
- 内边距:设置具体列的数据内容内边距
- 合并单元格:将具体列中相同内容的单元格进行合并
- 合并依据:设置单元格合并的依旧,可以自定义合并依据
- 还原默认设置:将指定列的数据列内容的样式还原成默认设置



